前言:小卫星已经具备较为成熟的技术体系,以其研制成本低、发射成本低等特点,成为各类有效载荷快速入轨的优先选择。小卫星类型广泛,包括光学遥感卫星、合成孔径雷达(SAR)卫星、通信卫星、空间环境探测卫星以及其他科学探测卫星等,小卫星技术在国计民生、国防安全等领域正逐渐发挥更大作用。
“小卫星技术介绍”系列文章将系统介绍卫星各分系统及相关技术,涵盖电源分系统、综合电子学分系统、有效载荷分系统、姿态和轨道控制分系统、结构分系统、热控分系统、测控和数传分系统、AIT等,多期连载发布,力求从功能组成、技术原理以及发展趋势等方面进行介绍,同时结合航天技术资讯,加深读者对文章的理解。系列文章旨在通过对小卫星各分系统及相关技术专项介绍,帮助读者快速了解小卫星系统组成、基本工作原理和AIT技术环节等,掌握小卫星研制相关的技术通识。
上一篇文章我们讲到,卫星对应它的电源系统正如人对应他的心脏,电源系统时刻为整个卫星提供能量,没有卫星电源系统的工作,卫星会瞬间失效。另外,电源系统从结构上可以分为能量产生设备、能量存储设备和电源系统控制和保护设备三部分。这次我们着重介绍卫星电源系统中的太阳电池阵及其构造。

从外表看,卫星的造型大多像一只展翅翱翔的飞鸟。而那宽大的“翅膀”和其表面的蓝黑色贴装,就是电源系统中最重要的部分——太阳能电池阵。
太阳能电池阵分为展开式和体贴式两种类型。他们的工作原理都是当有太阳光照射的时候,表面的太阳电池片通过光电效应,将太阳光的光能转化为电能。
展开式帆板需要展开机构及星务程序控制展开,所以比较复杂,但是帆板面积一般比较大,多用于大型工程任务类卫星;体贴式帆板由于没有展开机构,成本更低、可靠性更高,但是输出功率受限于星体表面积,相对较小。体贴式帆板多用于试验卫星和为了保证任务卫星的可靠性做的有益补充。

因为太阳能电池阵需要放置在星体外,无法进行有效的温度控制,所以要求卫星的帆板工作温度范围很大。展开式帆板工作温度一般在-90℃至90℃之间。体贴式的帆板,一般工作温度为-90℃至130℃之间。


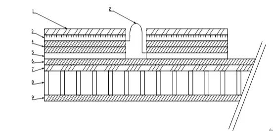
无论是体贴还是展开式太阳电池阵,都由9层结构组成,从上到下各层结构分别是:玻璃盖片、银互联条、盖片胶、电池片、底片胶、聚酰亚胺薄膜、顶层碳纤维、铝蜂窝板、底层碳纤维。前面5部分被成为CIC叠成太阳电池,后面4部分被成为基板。每个部分都有重要的用途。
太阳电池阵最上面是一层掺铈的特种玻璃盖片,玻璃盖片的作用是防止紫外线照射对太阳电池阵的损伤。玻璃盖片下面的银制的互连条,它是将太阳电池片串联起来的导线。由于太阳电池阵直接暴露在空间环境中,空间中的原子氧有很强的腐蚀性,银制互连片可以减缓氧化腐蚀。在电池片和玻璃盖片间,采用盖片胶进行粘接,盖片胶的透过率很高,而且非常薄,可以让更多的光能量照射到电池片表面。电池片有很多种,早期使用单晶硅或多晶硅的太阳能电池片,效率最高只有12%左右,目前采用三结砷化镓太阳电池片,常用的电池片效率目前可达27%以上。电池片下面的是底片胶,底片胶下面是太阳电池基板。基板是铝蜂窝结构两侧贴装碳纤维,在上表面粘贴聚酰亚胺薄膜组成。其中无论是铝蜂窝板还是上下两层的碳纤维都需要有很好的透气性,铝蜂窝板要求用激光打孔,碳纤维板表面要留有足够的透气孔。这样可以在进入大气层后将基板内部气体排出,防止气体因无法排出造成表面鼓起。鼓起的基板会将上面的太阳电池片破坏造成太阳电池阵失效。
在整个太阳电池阵中,最核心的就是太阳电池片了,早期卫星采用锗和硅太阳电池片,效率比较低而且抗辐射能力弱。随着技术的发展,砷化镓电池片航天电池片的主流产品。


砷化镓(GaAs)属于III-V族化合物半导体材料,由于它的能隙与太阳光谱的匹配较适合,所有广泛应用于航天电源系统。三结砷化镓太阳电池与硅太阳电池相比,具有高转换效率、高可靠性、耐高温、抗辐照能力强等优点,因此广泛使用。
砷化镓是继锗和硅之后的所谓第三代半导体。1954年世界上首次发现砷化镓太阳能电池材料具有光伏效应。80年代初期.前苏联、美国、英国、意大利等国开始研究砷化镓基系太阳电池。80年代中期,砷化镓太阳能电池已经用于空间系统,至今已有60多年的历史。
三结砷化镓电池是由三个独立的电池片和一个底衬组成的,能够根据太阳光的光谱最大限度的吸收光能。最上面的GaInP电池可以吸收能量大于1.85eV的光子能量;中间的GaAs电池可以吸收1.85eV至1.40eV之间的光子能量;最下面的Ge电池可以吸收1.40eV至1.00eV之间的光子能量。

三结砷化镓电池的主要参数包括,开路电压、短路电流,填充因子和转换效率。开路电压是指在一定太阳光强和温度条件下,太阳电池片未接入负载时输出的电压。一般此电压为电池片在此光强下的最大输出电压;开路电压越高,说明电池片光电转换能力越强,性能越好。短路电流是指在一定光强和温度条件下,太阳电池正负极短路后输出的电流。一般此电流为电池片在此光强下的最大输出电流;短路电流越大,说明电池片的光电转换能力越强。填充因子是在在一定光强和温度条件下,太阳电池阵最大输出的功率与其开路电压和短路电流乘积的比值。填充因子越大,电池片输出功率能力越强。转换效率是指太阳电池阵把光能转化为电能的效率。太阳电池片转换效率越高,电池片能力越强。
本篇介绍了电源系统中能量产生设备——太阳电池阵的基本情况,下一部分我们将介绍能量存储设备——蓄电池组的基本情况。
关于我们
2019年5月,TapTap点点前沿交叉科学青岛研究院获准设立空间天文物理融合研究中心。该中心是TapTap点点空间科学研究院在一校三地战略指引下积极筹建的空间科技学科集群与空天探测学科交叉大平台的重要组成部分。
通过成建制引进,中心已组建起“小卫星技术与空间态势感知”核心团队,正在小卫星设计和部分空间探测载荷关键技术方面聚力攻关,以掌握探测设备关键技术,搭建天地一体化空间环境探测系统,实现学科建设重大突破,提升我校空间科学与技术学科学术竞争力。
邮箱:yuepinliang@sdu.edu.cn